技术交易 > 一种血浆吸附器的连接装置

一种血浆吸附器的连接装置 (技术许可)

刘静V1 南昌市第九医院 主管护师 )

¥2,000/年

许可

deepSeek画像 平台咨询

许可使用

技术摘要

本实用新型提供一种血浆吸附器的连接装置,包括管路组件和管路夹组件,管路组件包括置换液泵管路、血浆抽取管路、中间管路、吸附柱出口端管路和吸附柱入口端管路、及废液泵管路和废液袋管路,吸附柱出口端管路靠近置换液泵管路设置,吸附柱入口端管路靠近废液泵管路设置,吸附柱出口端管路和吸附柱入口端管路之间连接有血浆吸附柱,管路夹组件包括靠近置换液泵管路和血浆抽取管路分别设置的第一管路夹和第二管路夹、靠近中间管路设置的第三管路夹、靠近吸附柱出口端管路和吸附柱入口端管路分别设置的第四管路夹和第五管路夹、及靠近废液泵管路和废液袋管路分别设置的第六管路夹和第七管路夹,本实用新型加快了治疗时间的同时还节省了成本。

技术说明

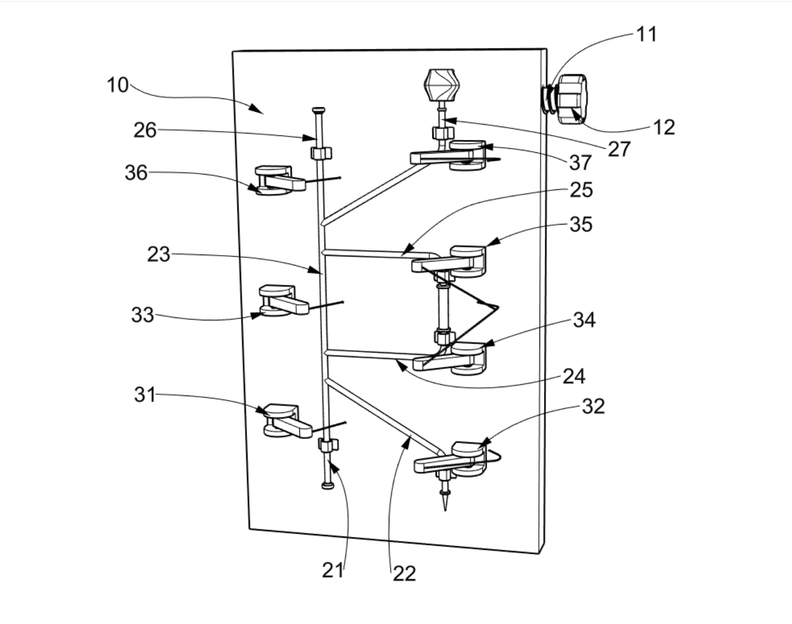
本实用新型实施例中的一种血浆吸附器的连接装置,包括管路组件和管路夹组件,所述管路组件包括置换液泵管路21、血浆抽取管路22、分别与所述置换液泵管路21和所述血浆抽取管路22连接的中间管路23、分别连接在所述中间管路23两端的吸附柱出口端管路24和吸附柱入口端管路25、及分别连接在所述中间管路23远离所述置换液泵管路21一端的废液泵管路26和废液袋管路27,所述吸附柱出口端管路24靠近所述置换液泵管路21设置,所述吸附柱入口端管路25靠近所述废液泵管路26设置,所述吸附柱出口端管路24和所述吸附柱入口端管路25之间连接有血浆吸附柱70,所述管路夹组件包括靠近所述置换液泵管路21和所述血浆抽取管路22分别设置的第一管路夹31和第二管路夹32、靠近所述中间管路23设置的第三管路夹33、靠近所述吸附柱出口端管路24和所述吸附柱入口端管路25分别设置的第四管路夹34和第五管路夹35、及靠近所述废液泵管路26和所述废液袋管路27分别设置的第六管路夹36和第七管路夹37。
可以理解的,本实用新型通过上述管路设置及管路夹设置,将置换液泵管路21、中间管路23、吸附柱出口端管路24、血浆吸附柱70、吸附柱入口段管路、废液泵管路26串成一条流通管道、将血浆抽取管路22、中间管路23、废液袋管路27串成一条流通管道,然后通过各个管路夹夹紧各管路,当需要进行血浆吸附模式时,控制第一管路夹31、第四管路夹34、第五管路夹35、第六管路夹36打开,并控制第二管路夹32、第三管路夹33、第七管路夹37关闭,流体将会依次经过置换液泵管路21、中间管路23、吸附柱出口端管路24、血浆吸附柱70、吸附柱入口段管路、废液泵管路26串成的流通管道,进而实现血浆吸附,当需要进行血浆置换模式时,控制第二管路夹32、第三管路夹33、第七管路夹37打开,并控制第一管路夹31、第四管路夹34、第五管路夹35、第六管路夹36关闭,流体将会依次经过血浆抽取管路22、中间管路23、废液袋管路27串成的流通管道,进而实现血浆置换;

成熟度

概念/试验品

技术来源

临床

暂无相关信息